客户关系中心用户手册
1 仪表盘
1.1 事件一览
客户关系中心>仪表盘中的『概览』可以看到我们和所有客户发生的事件的时间轴。时间轴默认按照时间的维护显示所有接触客户的所有类型的事件,可通过事件类型和客户名称进行查询,查询某一类型的时间或针对某个客户发生的事件。
针对时间轴上展示的事件,可以选择需要查看的客户名称直接挑战到对应客户的『客户详情』以便直接查看该客户的具体信息。也可以通过【事件详情】进入该事件的弹窗页面查看具体内容,并通过【上一条】和【下一条】,查看该客户时间轴上的事件。
1.2 积分排行
客户关系管理>仪表盘中的『概览』页面右侧,可以看到人员的积分排名情况。
积分的规则默认是按照每创建一个事件积一分。
积分排名可以按照时间,部门,人员进行查看。
在『概览』页面右下角有【新建事件】的快捷方式,可以直接进入『新建事件』页面进行事件创建。
2 客户管理
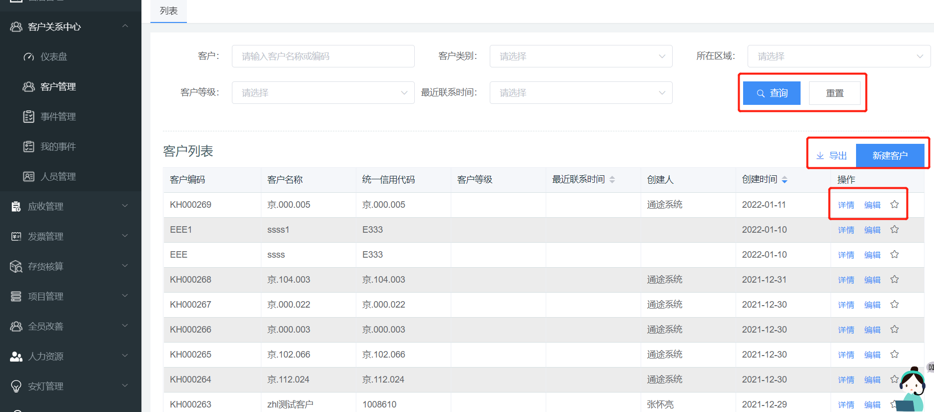
客户关系中心>客户管理中『列表』展示目前已经存在的客户信息,并可以进行【新建客户】、【详情】、【编辑】、【标星】、【查看】和【导出】等操作。
在TCRC中无论是事件还是客户方相关联系人都是围绕着客户进行展开,所以使用系统录入数据的前提是确保这个客户信息在系统中是存在的。
在『列表』页面,可以通过客户,客户类别,所在区域,客户等级,最近联系事件,对客户进行查询。也可以通过【导出】功能对所有的客户进行进行批量导出的操作。
2.1 新建客户
当需要新建一个客户时,可以通过右上角【新建客户】进入『新建客户』页面对客户进行创建。
当创建一个客户时,其中必填字段是客户编码,统一信用代码,客户简称,客户名称,支持币种,其他字段为选填字段。客户编码可以自行定义且需要唯一。
在创建客户信息的同时也可以通过【新建客户联系人】进入『添加联系人』,对该客户方的相关联系人信息进行录入。对于联系人的信息的填写,必填字段是姓名,职位,手机和微信,其中手机和微信为二选一填写,其他字段为选填字段。
当客户信息的相关信息都填写完成后可以通过【新建客户】的按钮,保存并创建该客户信息。也可以通过右上角【标星】的按钮,对该客户的动态进行关注。
当对一个客户继续标星关注时,该客户发生的动态,包括客户信息变更,联系人新建或变更以及事件信息新建或变更,都可以通过消息中心,邮箱和企微中的信息提醒到用户,以便随时能了解到该客户的最新动态。
2.2 编辑客户
客户关系中心>客户管理中可以在『列表』中选择【编辑】进入『编辑客户』页面,维护已创建的客户信息,点击【更新保存】,将编辑后的信息保存。
也可以通过【详情】进入到『客户详情』页面,可以查看『客户管理』和『事件记录』两个子页面的内容。『客户管理』页面展示的是客户的相关信息和联系人信息。『事件记录』页面展示的是与该客户相关的事件记录情况。
在『客户详情』页面中也可以新建客户联系人,新建联系人的操作同2.1,并可以查看该客户相关的操作记录。
3 事件管理
事件管理中是对和客户相关的所有事件列表展示和进行相关的操作。
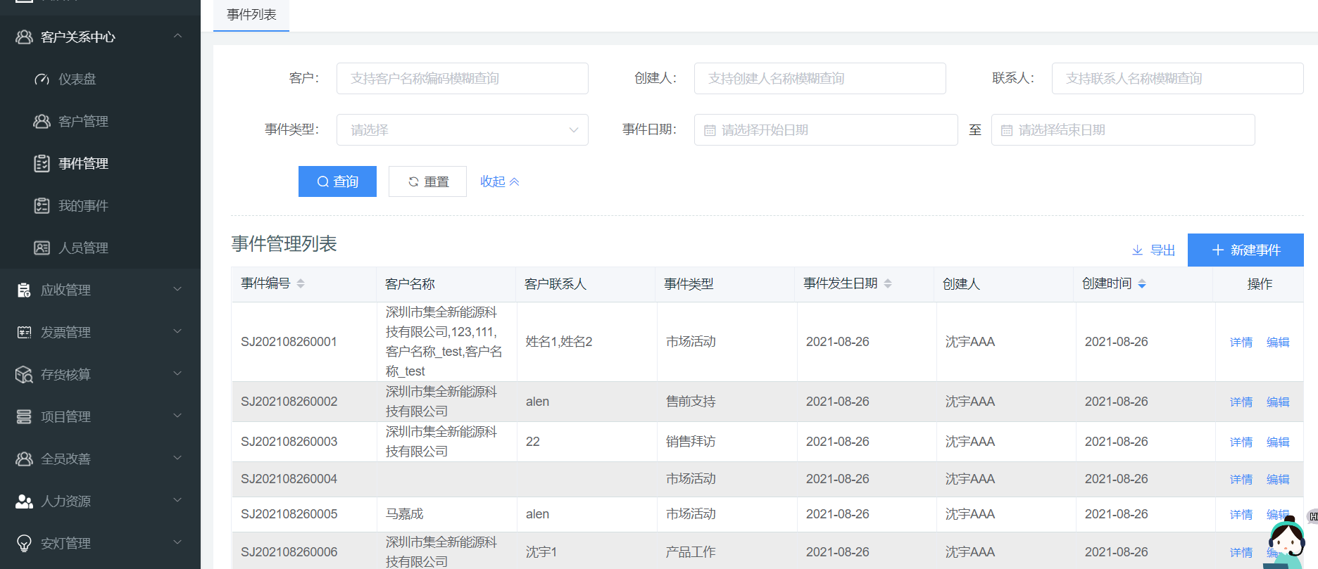
客户关系中心>事件管理中『事件列表』页面,可以对所有的事件进行查询,新建,编辑和查看详情的操作。
在页面上方可以通过客户,创建人,联系人,事件类型,事件日期,筛选查询事件。
用户也可以根据需要对事件进行【导出】,以便可以对客户的事件做分析整理。
3.1 新建事件
客户关系中心>事件管理中『事件列表』页面,选择右上角的【新建事件】按钮。通过【新建事件】进入到『新建事件』界面。
首先需要先选择事件类型,事件类型包括产品工作,交流,客户成功,市场活动,售前支持,项目实施,销售拜访。
在选择具体的事件类型后,需要具体填写事件的相关内容。
事件的具体内容会根据事件类型有所不同,通常包括客户名称,时间,地点,以及事件的具体内容,相关链接,附件,参与事件的相关人员。
每一个事件中参与人员分为
我方参与人员以及客户参与人员,分别是公司内部参与事件的人员(内部人员)和客户方参与事件的人员(外部人员)。人员可以添加多个。
3.2 编辑事件
客户关系中心>事件管理中『事件列表』页面,针对某个事件选择【编辑】按钮,进入到『事件编辑』页面,可以对事件的相关信息进行编辑。点击【保存】,将编辑后的信息进行保存。
4 我的事件
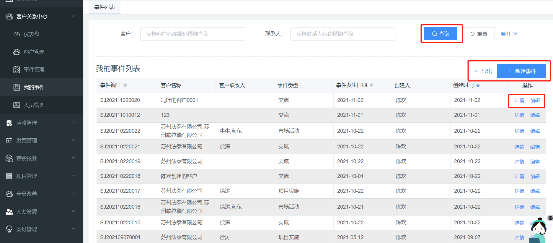
客户关系中心>我的事件,展示的是个人创建的事件列表,并可以对事件进行【查询】,【新建事件】,【详情】,【编辑】和【导出】。
5 人员管理
在客户关系中心,人员分为内部人员和外部人员。内部人员是指公司内部的人员,外部人员是指客户方的相关联系人员。
客户关系中心>人员管理,在『人员管理』页面可以看到全部的人员信息,并可以通过所属公司,姓名,人员类型,对人员进行查询。并且也可以查看内外部人员的【详情】。
5.1 导入/新建人员
在『人员管理』页面可以对人员继续导入和新建的操作。
如果需要维护的人员是已创建的客户下添加的联系人,则直接【导入客户联系人】;
如果需要维护的人员是内部员工且该员工有IN3账号,则直接【导入内部联系人】;
如果有新的人员需要创建,需要点击【新建人员】。新建人员的操作同2.1。
5.2 编辑客户联系人
在『人员管理』列表页面,对于人员类型为外部用户的人员,即客户联系人,可以点击【编辑】,在『编辑人员』对话框中维护对应的人员信息。点击【确认】,将编辑后的信息保存。
6 事件统计报表
客户关系中心>事件统计报表,进入『事件统计报表』页面,可以看到客户关系中心的报表统计情况。并且可以通过日期进行筛选,查看某个时间段的数据统计情况。

















